凸輪轉子泵維修技術要點分析
摘要:凸輪轉子泵是化纖生產中物料(漿料)榆送系統的重要設備,介紹其技術性能、常見故障分析和維修技術要點,為設備通過管道連續…
銷售熱線
021-56082699 56081570
電子郵箱
likaimp@163.com
摘要:凸輪轉子泵是化纖生產中物料(漿料)榆送系統的重要設備,介紹其技術性能、常見故障分析和維修技術要點,為設備通過管道連續…
摘要:在化工領域,考慮到一次投賚成本和維修簡便,很多裝置內輸送物料場合業主習慣選用離心泵的轉子泵型比較多,而轉子泵如螺桿…
隨著生活水平和健康意識的不斷提高,人們對于食品安全的要求也越來越高。在食品及藥品生產過程中越來越多地采用了全自動化控制…
NL污水泥漿泵是單級單吸立式離心泵,主要部件有蝸殼、葉輪、泵座、泵殼、支撐筒、電機座、電動機等組成。蝸殼、泵座、電機座、葉輪螺母是生鐵鑄造、耐腐蝕性較好,加工工藝方便。葉輪為三片單園弦彎葉,選用半封閉葉輪,并采用可鍛鑄鐵、所以強度高,耐腐蝕;加工方便,通過性好,效率高。為了減輕重量和減少車削量、泵軸是優質碳素鋼冷拉園鋼制造。 泥漿泵座中裝有四只骨架油封和軸套,防止軸磨損,延長軸的使用壽命。
NL型污水泥漿泵 本泵系單級單吸立式離心泵,主要部件有蝸殼、葉輪、泵座、泵殼、支撐筒、電機座、電動機等組成。蝸殼、泵座、電機座、葉輪螺母是生鐵鑄造、耐腐蝕性較好,加工工藝方便。
葉輪為三片單園弦彎葉,選用半封閉葉輪,并采用可鍛鑄鐵、所以強度高,耐腐蝕;加工方便,通過性好,效率高。
為了減輕重量和減少車削量、泵軸是碳素鋼冷拉園鋼制造。
泵座中裝有四只骨架油封和軸套,防止軸磨損,延長軸的使用壽命。
本泵可垂直或傾斜使用,占地面積小,蝸殼需埋在工作介質中工作,容易啟動,不需弓I水,旋轉方向應從電機尾部看是順時針方向工作。
總機長度備有各種規格,以便使用單位根據用途因地制宜地選用。

| 型 號 | 轉速n (r/min) |
流量Q (m3/h) |
揚程H (m) |
效率η (%) |
電機功率 (Kw) |
|---|---|---|---|---|---|
| NL50-8 NL50A-8 |
1430 | 20-30 | 8-9 | 42 | 1.5 |
| NL50-12 NL50A-12 |
1430 | 25-38 | 12-14 | 41 | 3 |
| NL65-16 NL65A-16 |
1430 | 50-60 | 15-18 | 42 | 5.5 |
| NL76-9 NL76A-9 |
1430 | 50-70 | 9-10 | 59 | 3 |
| NL80-12 NL80A-12 |
1430 | 80-120 | 11-13 | 56 | 7.5 |
| NL100-16 NL100A-16 |
1430 | 80-100 | 15-17 | 61 | 15 |
| NL150-12 NL150A-12 |
1430 | 100-150 | 11-13 | 66 | 18.5 |
| NL150-16 NL150A-16 |
1430 | 120-180 | 15-20 | 65 | 22 |
1、NL型多用液下泵系單級單吸離心泵,使用于礦山,造紙、印染、環保、石墨、云母、黃金、陶瓷、煉油、石油、化工、農場、鹽場、碘場、染化、釀酒、食品、化肥、焦化、選廠、建筑、大理石廠、金礦、泥漿、流沙、泥塘、污塘、污濁液送吸濃稠液、裝料及懸浮物質的污水作業,也可作礦排水及含有泥塊的流體。
2、若與高壓水泵,水槍配合,組成水力機械化土方工程機組,就可用作于土地平整,河道與池塘的疏浚、鑿開等小型水利工程的挖方與輸方,以及城市的防空工程,地下工程。 3、養魚用作帶水清塘、魚池增氧等。

| 序號 | 型式/另件名稱 | NL,NLF,NW | ||
| 編號 | 數量 | 備注 | ||
| 1 | 網罩 | 1 | 1 | |
| 2 | 葉輪螺母 | 2 | 1 | |
| 3 | 葉輪 | 3 | 1 | |
| 4 | 泵殼 | 4 | 1 | |
| 5 | 泵座 | 5 | 1 | |
| 6 | 0型圈 | 6 | 1 | 改進型用機械密封 |
| 7 | 油封 | 7 | 4 | 改進型用機械密封 |
| 8 | 軸套 | 8 | 1 | 改進型用機械密封 |
| 9 | 出水彎頭 | 9 | 1 | |
| 10 | 泵軸 | 10 | 1 | |
| 11 | 軸承 | 11 | 2 | |
| 12 | 從動聯軸器 | 12 | 1 | |
| 13 | 主動聯軸器 | 13 | 1 | |
| 14 | 聯接筒 | 14 | 1 | |
| 15 | 軸承座 | 15 | 2 | |
| 16 | 聯接軸 | 16 | 1 | |
| 17 | 支撐筒 | 17 | 2 | |
| 18 | 軸承蓋 | 18 | 1 | |
| 19 | 從動聯軸器 | 19 | 1 | |
| 20 | 電機座 | 20 | 1 | |
| 21 | 電機座C | 21 | 1 | 帶固定板用 |
| 22 | 主動聯軸器 | 22 | 1 | |
| 23 | 電動機 | 23 | 1 | |
| 24 | 彈性塊 | 24 | 1 | |
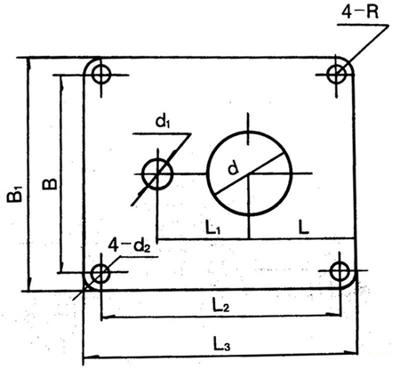
安裝尺寸

泵固定安裝板尺寸
| 型號/代號 | L | L1 | L2 | L3 | B | B1 | d | d1 | 4-d2 | 4-R | δ |
| NL25-10 | 180 | 120 | 350 | 400 | 280 | 330 | 72 | 40 | 13 | 25 | 6 |
| NL50-8 | 255 | 230 | 590 | 650 | 490 | 550 | 215 | 70 | 18 | 30 | 8 |
| NL80-9 NL50-12 NL76-9 | 255 | 230 | 590 | 650 | 490 | 550 | 258 | 80 70 70 | 18 | 30 | 10 |
| NL65-16 NL80-12 NL50-24 | 255 | 285 | 690 | 750 | 590 | 650 | 175 | 70 110 70 | 18 | 30 | 12 |
| NL100-16 NL100A-16 | 380 | 350 | 920 | 1000 | 820 | 900 | 226 | 115 70 | 18 | 40 | 14 |
泵長度規格
| 型 號 | 泵 長 度 L (毫米) | ||||||||||
| NL150-12 NL150A-12 NL150-16 NL150A-16 | 650 | 1300 | / | / | / | / | / | / | / | / | |
| NL50-8 NL50A-8 NL50-12 NL50A-12 NL76-9 NL76A-9 | 470 | 1120 | 1620 | 2120 | 2620 | 3120 | 3620 | 4120 | 4620 | 5120 | 3620 |
| NL65-16 NL165A-16 NL80-12 NL80A-12 | 710 | 1190 | 1910 | 2410 | 3130 | 3630 | 4350 | 4850 | 5570 | 6070 | / |
| NL100-16 NL100A-16 | 710 | 1190 | 1940 | 2440 | 3190 | 3690 | 4440 | 4940 | 5690 | 6190 | / |
上一條: WSY型立式玻璃鋼液下泵
下一條: FYS系列氟塑料合金液下泵